☝️Опитування: більшість айтішників проти «Дія City»
У дослідженні колег з DOU щодо «Дія City» взяли участь майже 4000 спеціалістів. 80% айтішників досі проти. Чверть з них збирається звільнитися у разі вступу в «Дія City». Знизилася частка тих, хто не підтримує через недовіру до Мінцифри — з 77% до 66%. Серед інших варіантів респонденти згадували про погану реалізацію проєкту, необхідність податкової реформи, кінець для дрібних компаній та статтю про неконкуренцію.
У дослідженні колег з DOU щодо «Дія City» взяли участь майже 4000 спеціалістів. 80% айтішників досі проти. Чверть з них збирається звільнитися у разі вступу в «Дія City». Знизилася частка тих, хто не підтримує через недовіру до Мінцифри — з 77% до 66%. Серед інших варіантів респонденти згадували про погану реалізацію проєкту, необхідність податкової реформи, кінець для дрібних компаній та статтю про неконкуренцію.
👨🦲Гордон спитав Зеленського про 2500 ботів в соцмережах
Журналіст і бізнесмен Дмитро Гордон озвучив 64 головних претензії до президента України. «Володимире Олександровичу, хто наймає для вашого вихвалення і боротьби, як ви вважаєте, з вашими ворогами, 2500 ботів в соцмережах», — спитав журналіст. Також Дмитра Ілліча цікавить за які гроші це відбувається. Звідки взяті дані про кількість ботів і конкретних прикладів з соцмереж він не навів.
Журналіст і бізнесмен Дмитро Гордон озвучив 64 головних претензії до президента України. «Володимире Олександровичу, хто наймає для вашого вихвалення і боротьби, як ви вважаєте, з вашими ворогами, 2500 ботів в соцмережах», — спитав журналіст. Також Дмитра Ілліча цікавить за які гроші це відбувається. Звідки взяті дані про кількість ботів і конкретних прикладів з соцмереж він не навів.
💥В Україні запатентували пристрій для е-голосування
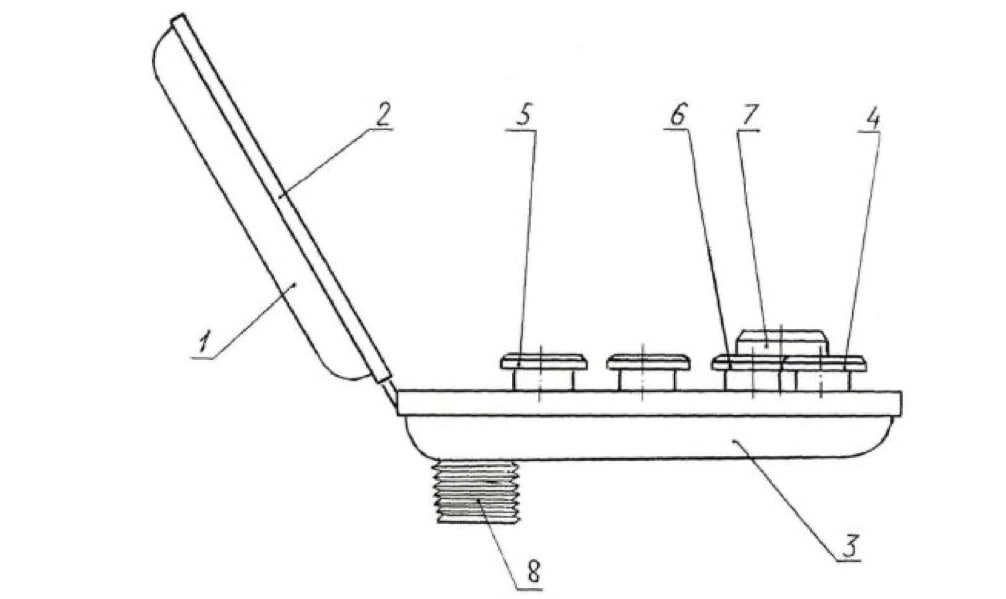
Винахідники Анатолій Мухін і Тетяна Волошина придумали пристрій, що дозволяє організувати таємне електронне голосування. Спосіб такого голосування полягає у виготовленні електронних виборчих бюлетенів з унікальним ідентифікаційним номером. Заповнювати такий бюлетень треба за допомогою спецпристрою. Пристрій дозволяє нейтралізувати фальсифікацію та хакерство у виборчому процесі.
Винахідники Анатолій Мухін і Тетяна Волошина придумали пристрій, що дозволяє організувати таємне електронне голосування. Спосіб такого голосування полягає у виготовленні електронних виборчих бюлетенів з унікальним ідентифікаційним номером. Заповнювати такий бюлетень треба за допомогою спецпристрою. Пристрій дозволяє нейтралізувати фальсифікацію та хакерство у виборчому процесі.
🚀Як космічний символ Дніпра став яблуком розбрату
Колишнім партнерам з будівництва випробувального пускового комплексу для РН «Циклон-4» Державному космічному агентству та машинобудівній групі «Дніпротехсервіс» довелося в суді підраховувати збитки проєкту, що не відбувся. Після денонсації Бразилією угоди про будівництво космодрому для запусків РН «Циклон-4» називалися різні цифри понесених збитків. Екс-голова ДКАУ Любомир Сабадош називав $672 млн. У КБ «Південне» говорили про $806 млн.
Колишнім партнерам з будівництва випробувального пускового комплексу для РН «Циклон-4» Державному космічному агентству та машинобудівній групі «Дніпротехсервіс» довелося в суді підраховувати збитки проєкту, що не відбувся. Після денонсації Бразилією угоди про будівництво космодрому для запусків РН «Циклон-4» називалися різні цифри понесених збитків. Екс-голова ДКАУ Любомир Сабадош називав $672 млн. У КБ «Південне» говорили про $806 млн.
🤷♂️Стартап переїхав в Британію через штраф від податкової
В українському стартапі MySales Labs заявили про вимагання 2,6 млн грн штрафу з боку податкової служби. Засновник компанії Олексій Івасюк розповів, що є айтішником із 1994 року, а ФОПом — із 2014-го. MySales займається розробкою рішень для прогнозування продажів у роздрібних мережах. «Ми почали інвестувати прибуток та платити 200-300 тисяч грн податку на прибуток, платити ФОП-ам компенсації. Тобто почали платити податків більше, а не менше. І ось покарання за це» — поскаржився ІТ-бізнесмен.
В українському стартапі MySales Labs заявили про вимагання 2,6 млн грн штрафу з боку податкової служби. Засновник компанії Олексій Івасюк розповів, що є айтішником із 1994 року, а ФОПом — із 2014-го. MySales займається розробкою рішень для прогнозування продажів у роздрібних мережах. «Ми почали інвестувати прибуток та платити 200-300 тисяч грн податку на прибуток, платити ФОП-ам компенсації. Тобто почали платити податків більше, а не менше. І ось покарання за це» — поскаржився ІТ-бізнесмен.
💰В Україні 1600 R&D‑директорів мають $100-200 тисяч в рік
Кількість голів із розробки та досліджень в Україні становить 1600 осіб, а їхня зарплата оцінюється в розмірі від $100 000 до $200 000 на рік без бонусів. Як пише Forbes, український IT‑сектор — головний роботодавець для R&D‑директорів. Зараз офіси з розробки в Україні мають майже 100 компаній зі списку Fortune 500. Для бізнесу з українським корінням, особливо з традиційних індустрій, запуск свого R&D — питання виживання, а не доступу до офшорних програмістів.
Кількість голів із розробки та досліджень в Україні становить 1600 осіб, а їхня зарплата оцінюється в розмірі від $100 000 до $200 000 на рік без бонусів. Як пише Forbes, український IT‑сектор — головний роботодавець для R&D‑директорів. Зараз офіси з розробки в Україні мають майже 100 компаній зі списку Fortune 500. Для бізнесу з українським корінням, особливо з традиційних індустрій, запуск свого R&D — питання виживання, а не доступу до офшорних програмістів.
💵За рік венчурні фонди вклали в крипту $30 млрд
У 2021 році фонди інвестували в криптовалюту майже $30 млрд, що більше, ніж за всі попередні роки разом узяті. Цьогорічний рекорд майже в чотири рази перевершив попередній максимум, який становив $8 млрд у 2018 році, пише Bloomberg. Відомі фірми, такі як Coinbase Ventures, Digital Currency Group і Polychain Capital, почали вкладатися і в експериментальні проєкти, наприклад, додатки для соцмереж, які перетворюють знаменитостей на токени.
У 2021 році фонди інвестували в криптовалюту майже $30 млрд, що більше, ніж за всі попередні роки разом узяті. Цьогорічний рекорд майже в чотири рази перевершив попередній максимум, який становив $8 млрд у 2018 році, пише Bloomberg. Відомі фірми, такі як Coinbase Ventures, Digital Currency Group і Polychain Capital, почали вкладатися і в експериментальні проєкти, наприклад, додатки для соцмереж, які перетворюють знаменитостей на токени.
🚴Glovo відкрив «хмарну кухню» з купою брендів
Сервіс кур’єрської доставки росте як на дріжджах. На цей раз він створив новий Cook Room у передмісті Києва, йдеться у прес-релізі компанії. До території покриття доставки з Cook Room увійшли села Крюківщина та Гатне, де раніше сервіс не був представлений. Cook Room вміщує рекордну кількість віртуальних брендів та має опцію самовивозу. «Хмарні кухні» від Glovo функціонують лише у деяких країнах присутності — крім України, ще в Іспанії, Італії, Грузії та Румунії.
Сервіс кур’єрської доставки росте як на дріжджах. На цей раз він створив новий Cook Room у передмісті Києва, йдеться у прес-релізі компанії. До території покриття доставки з Cook Room увійшли села Крюківщина та Гатне, де раніше сервіс не був представлений. Cook Room вміщує рекордну кількість віртуальних брендів та має опцію самовивозу. «Хмарні кухні» від Glovo функціонують лише у деяких країнах присутності — крім України, ще в Іспанії, Італії, Грузії та Румунії.
☝️У 2021 році на Prozorro заощадили 45 мільярдів
За даними ДП «Прозорро», за 2021 рік держава підписала контрактів на 790 млрд грн, а завдяки електронним торгам вдалося заощадити 45 млрд грн. В Prozorro також проаналізували, в яких сферах було витрачено найбільш грошей. Перше місце посідає будівництво та ремонтні роботи — тут було закупівель на 416 млрд грн. Сюди ж входить будівництво та ремонт доріг усіх типів — 270 млрд грн.
За даними ДП «Прозорро», за 2021 рік держава підписала контрактів на 790 млрд грн, а завдяки електронним торгам вдалося заощадити 45 млрд грн. В Prozorro також проаналізували, в яких сферах було витрачено найбільш грошей. Перше місце посідає будівництво та ремонтні роботи — тут було закупівель на 416 млрд грн. Сюди ж входить будівництво та ремонт доріг усіх типів — 270 млрд грн.
👨Гороховський: «Вирішили не продавати monobank, бо зростає»
За словами співвласника необанку Олега Гороховського, частка monobank у доходах Універсалбанку — більше 90%. «Із клієнтської бази у 4,8 млн клієнтів 90% щомісяця ходять у застосунок. Це вище, ніж MAU у топових світових гравців», — зазначив бізнесмен. Він у великому інтерв’ю розповів також про IT, розвиток фінтеху, крипту, банкомати та конкурентів.
За словами співвласника необанку Олега Гороховського, частка monobank у доходах Універсалбанку — більше 90%. «Із клієнтської бази у 4,8 млн клієнтів 90% щомісяця ходять у застосунок. Це вище, ніж MAU у топових світових гравців», — зазначив бізнесмен. Він у великому інтерв’ю розповів також про IT, розвиток фінтеху, крипту, банкомати та конкурентів.
💯Мінцифра розповіла про 100 перемог в 2021 році
За словами глави Мінцифри Михайла Федорова, відомству у 2021 році вдалося зекономити три мільярди гривень, а рівень задоволеності людей від автоматичних послуг сягнув 97%. У свою чергу «Дія» — найпопулярніший держпродукт. В 2020 році застосунком користувалося трохи більше двох мільйонів українців. На сьогодні це 12+ млн громадян. Тримайте головні тези від міністра цифрової трансформації.
За словами глави Мінцифри Михайла Федорова, відомству у 2021 році вдалося зекономити три мільярди гривень, а рівень задоволеності людей від автоматичних послуг сягнув 97%. У свою чергу «Дія» — найпопулярніший держпродукт. В 2020 році застосунком користувалося трохи більше двох мільйонів українців. На сьогодні це 12+ млн громадян. Тримайте головні тези від міністра цифрової трансформації.
Чтиво-четвер: найцікавіші IT-тексти тижня
👨💻Як розробник з Луганщини розвиває наукове мистецтво
DEV Ukraine: Максу Лосєву 35 років. Він заробляє через власний R&D центр, в якому реалізовує проєкти з автоматизації. Він вже зробив для американців нейроінтерфейс та розробляв навантаження для місяцеходів. Розповідаємо, як хлопець займається science art.
🖐5 біохаків: як встигати більше і кайфувати від роботи
DOU: В’ячеслав Федонов — лікар та засновник стартапу Well Done Tech (доказовий біохакінг для IT-бізнесу). У статті спеціаліст розповів про те, що таке біохакінг і поділився корисними порадами для життя.
☝️Як IT-компанії вступити до «Дія City»: інструкція
AIN: Спецрежим для українського IT-бізнесу набуває чинності вже з січня 2022 року. У матеріалі зібрані основні поради від Мінцифри про те, як компаніям подати заявку на резидентство у «Дія City».
🗣Okay, Google: історія розвитку голосових асистентів
Bazilik: Розповідь про перші технології голосових асистентів та використання сучасних у маркетингових стратегіях брендів.
💪Історія ветерана, що продає мурашині ферми
Vector: Олександр Іваніцький не тільки конструює ферми, а й розводить колонії комах, яких заселяють у мурашники. З 2017 року мурашники Ant City почали продавати за кордон через інтернет-платформи Amazon, Etsy, eBay. Наразі Олександр вже знайшов партнерів у 4 країнах.
👩💻Чим відрізняються умови айтішників Швеції та України
LIGA.Tech: Топ Sigma Software Артем Петренко розповів про відмінності в IT двох країн та про те, чому українські ІТ-фахівці навчені краще, а айтішника у Швеції не вважають багатим.
📱Сім кращих застосунків для обліку власних фінансів
Економічна правда: Добірка мобільних програм, завдяки яким можна контролювати власні витрати та накопичувати на омріяні покупки.
👨Хакер: «Соціальний ліфт від Зеленського не працює»
DEV Ukraine: IT-підприємець Микита Книш, мабуть, найвідоміший український хакер. Ми розпитали його про перші гроші, українських силовиків, «Дію», захист даних українців та ймовірність вторгнення РФ.
👨💻Як розробник з Луганщини розвиває наукове мистецтво
DEV Ukraine: Максу Лосєву 35 років. Він заробляє через власний R&D центр, в якому реалізовує проєкти з автоматизації. Він вже зробив для американців нейроінтерфейс та розробляв навантаження для місяцеходів. Розповідаємо, як хлопець займається science art.
🖐5 біохаків: як встигати більше і кайфувати від роботи
DOU: В’ячеслав Федонов — лікар та засновник стартапу Well Done Tech (доказовий біохакінг для IT-бізнесу). У статті спеціаліст розповів про те, що таке біохакінг і поділився корисними порадами для життя.
☝️Як IT-компанії вступити до «Дія City»: інструкція
AIN: Спецрежим для українського IT-бізнесу набуває чинності вже з січня 2022 року. У матеріалі зібрані основні поради від Мінцифри про те, як компаніям подати заявку на резидентство у «Дія City».
🗣Okay, Google: історія розвитку голосових асистентів
Bazilik: Розповідь про перші технології голосових асистентів та використання сучасних у маркетингових стратегіях брендів.
💪Історія ветерана, що продає мурашині ферми
Vector: Олександр Іваніцький не тільки конструює ферми, а й розводить колонії комах, яких заселяють у мурашники. З 2017 року мурашники Ant City почали продавати за кордон через інтернет-платформи Amazon, Etsy, eBay. Наразі Олександр вже знайшов партнерів у 4 країнах.
👩💻Чим відрізняються умови айтішників Швеції та України
LIGA.Tech: Топ Sigma Software Артем Петренко розповів про відмінності в IT двох країн та про те, чому українські ІТ-фахівці навчені краще, а айтішника у Швеції не вважають багатим.
📱Сім кращих застосунків для обліку власних фінансів
Економічна правда: Добірка мобільних програм, завдяки яким можна контролювати власні витрати та накопичувати на омріяні покупки.
👨Хакер: «Соціальний ліфт від Зеленського не працює»
DEV Ukraine: IT-підприємець Микита Книш, мабуть, найвідоміший український хакер. Ми розпитали його про перші гроші, українських силовиків, «Дію», захист даних українців та ймовірність вторгнення РФ.
🎄🎁Новий рік вже зовсім скоро! А це значить, що настав час будувати плани на новий рік та отримувати подарунки
Освітня платформа DEV зібрала курси, на які діють знижки, а деякі можна пройти безкоштовно. Це чудова можливість прокачати навички та отримати роботу мрії в ІТ.
Переходь, вибирай і починай вчитися!🚀
Освітня платформа DEV зібрала курси, на які діють знижки, а деякі можна пройти безкоштовно. Це чудова можливість прокачати навички та отримати роботу мрії в ІТ.
Переходь, вибирай і починай вчитися!🚀
💰Син Косюка створив інструмент, що допоможе вигідно вкласти гроші
Син власника МХП Юрія Косюка Іван розробляє інструмент, який допоможе айтішникам правильно і вигідно розпоряджатися заробленими грошима. «Зарплати айтішників за останній рік сильно зросли. І я почав досліджувати, що інженери роблять зі своїми зарплатами, чи відкладають на майбутнє», — розповів розробник. Хлопець вже веде переговори з SoftServe.
Син власника МХП Юрія Косюка Іван розробляє інструмент, який допоможе айтішникам правильно і вигідно розпоряджатися заробленими грошима. «Зарплати айтішників за останній рік сильно зросли. І я почав досліджувати, що інженери роблять зі своїми зарплатами, чи відкладають на майбутнє», — розповів розробник. Хлопець вже веде переговори з SoftServe.
😺Monobank запустить мережу банкоматів на початку року
Банкомати monobank з’являться в Києві вже у першому кварталі 2022 року. Крім того, банк обіцяє дешевий еквайринг. За словами співвласника mono Олега Гороховського, вже привезена пілотна партія обладнання та укладений контракт на банкомати. «Зараз ми пиляємо софт для них, і в першому кварталі, на мою думку, з’являться банкомати monobank», — заявив бізнесмен.
Банкомати monobank з’являться в Києві вже у першому кварталі 2022 року. Крім того, банк обіцяє дешевий еквайринг. За словами співвласника mono Олега Гороховського, вже привезена пілотна партія обладнання та укладений контракт на банкомати. «Зараз ми пиляємо софт для них, і в першому кварталі, на мою думку, з’являться банкомати monobank», — заявив бізнесмен.
⚡️Масштабна акція від лабораторії IT онлайн-освіти
Лабораторія нетехнічної IT онлайн-освіти IAMPM до новорічних свят підготувала масштабну акцію для тих, хто вміє планувати своє майбутнє. Промо
Лабораторія нетехнічної IT онлайн-освіти IAMPM до новорічних свят підготувала масштабну акцію для тих, хто вміє планувати своє майбутнє. Промо
👨💻Як син Корогодського хоче здійснити революцію кодеків
Син Гаріка Корогодського займався різними бізнесами. Серед них — кальяни, виробництво морозива та меблів. За словами Данила Корогодського, тепер він повністю зосередився на IT, яке йому дуже подобається. Проєкт айтішника називається Polar. Компанія розробила унікальний підхід до обробки відеоданих завдяки використанню власного алгоритму. Він пропонує більшу гнучкість з точки зору технологічних можливостей, а також стратегії захисту IP. Запуск запланований на 2022 рік.
Син Гаріка Корогодського займався різними бізнесами. Серед них — кальяни, виробництво морозива та меблів. За словами Данила Корогодського, тепер він повністю зосередився на IT, яке йому дуже подобається. Проєкт айтішника називається Polar. Компанія розробила унікальний підхід до обробки відеоданих завдяки використанню власного алгоритму. Він пропонує більшу гнучкість з точки зору технологічних можливостей, а також стратегії захисту IP. Запуск запланований на 2022 рік.
Разом із колегами зібрали корисні Telegram-канали про IT, бізнес та можливості. Добірка каналів, які не соромно рекомендувати:
🚀 Na chasi / Crypto — головне українське медіа про криптовалюти. Новини про біткоїн, NFT, біржі, метавсесвіт і все, що треба знати про крипту.
🥒 Кукумбер — ділиться з читачами топовими застосунками, телеграм ботами та корисними сайтами. Кладезь корисної інформації.
⭐️ Workado — твої вакансії від перевірених компаній в digital сфері та ІТ. Знайди віддалену роботу своєю мрії.
💼 UNI WORK — можливості й прямий контакт з роботодавцями для тих, хто лише на старті кар'єри. Стажування й вакансії від понад 100 компаній.
👨💻 IT-івенти в Україні — для старту в IT та розвитку в цій сфері. Вебінари, майстер-класи, IT-курси. Більшість безкоштовні.
💻 UIT | Робота, заходи і новини в IT — канал, в кому ви знайдете топові вакансії, найкорисніші та яскраві заходи, а також новини зі світу технологій.
🧬 skynet | майбутнє вже тут — з жартами і небанально про нові технології, винаходи та АІ. Будь в курсі, аби не пропустити повстання машин.
🇺🇦 Про IT в Україні — новини про технології, сервіси та компанії, що популярні в Україні та корисні для українців. Також вебінари, курси, стажування.
🚀 Space Job — канал із вакансіями в IT, Media та Digital з перспективними умовами від найкращих компаній та івентами для професійного розвитку.
🚀 Na chasi / Crypto — головне українське медіа про криптовалюти. Новини про біткоїн, NFT, біржі, метавсесвіт і все, що треба знати про крипту.
🥒 Кукумбер — ділиться з читачами топовими застосунками, телеграм ботами та корисними сайтами. Кладезь корисної інформації.
⭐️ Workado — твої вакансії від перевірених компаній в digital сфері та ІТ. Знайди віддалену роботу своєю мрії.
💼 UNI WORK — можливості й прямий контакт з роботодавцями для тих, хто лише на старті кар'єри. Стажування й вакансії від понад 100 компаній.
👨💻 IT-івенти в Україні — для старту в IT та розвитку в цій сфері. Вебінари, майстер-класи, IT-курси. Більшість безкоштовні.
💻 UIT | Робота, заходи і новини в IT — канал, в кому ви знайдете топові вакансії, найкорисніші та яскраві заходи, а також новини зі світу технологій.
🧬 skynet | майбутнє вже тут — з жартами і небанально про нові технології, винаходи та АІ. Будь в курсі, аби не пропустити повстання машин.
🇺🇦 Про IT в Україні — новини про технології, сервіси та компанії, що популярні в Україні та корисні для українців. Також вебінари, курси, стажування.
🚀 Space Job — канал із вакансіями в IT, Media та Digital з перспективними умовами від найкращих компаній та івентами для професійного розвитку.
☝️Як успішно пройти «кола пекла» співбесід в IT-компанію
Під час співбесід все індивідуально, срібної кулі тут немає. Але є деякі загальні речі, на які звертають увагу рекрутери і топи компаній на більш пізніх стадіях відбору. Head of Affiliate Marketing в компанії Cpamatica Єгор Галушка дав кілька важливих порад претендентам.
Під час співбесід все індивідуально, срібної кулі тут немає. Але є деякі загальні речі, на які звертають увагу рекрутери і топи компаній на більш пізніх стадіях відбору. Head of Affiliate Marketing в компанії Cpamatica Єгор Галушка дав кілька важливих порад претендентам.
😺Як monobank виводять із зони кеш-комфорту
Банк без відділень monobank вже давно не стартап. Проєкт обслуговує 4,8 млн клієнтів, що робить його великим фінансовим бізнесом. Чим далі в ліс, тим більше мобільність банку підрізається. Йому доведеться зануритися в звичайну банківську рутину — пізнати всі принади традиційного світу. Співзасновник monobank Олег Гороховський заявив, що проєкт по суті виходить на ринок еквайрингу і починає ставити власні банкомати. У колонці редактора наш Стас Юрасов вирішив подумати про те, чому ж необанк пускає в землю коріння і обростає бородою.
Банк без відділень monobank вже давно не стартап. Проєкт обслуговує 4,8 млн клієнтів, що робить його великим фінансовим бізнесом. Чим далі в ліс, тим більше мобільність банку підрізається. Йому доведеться зануритися в звичайну банківську рутину — пізнати всі принади традиційного світу. Співзасновник monobank Олег Гороховський заявив, що проєкт по суті виходить на ринок еквайрингу і починає ставити власні банкомати. У колонці редактора наш Стас Юрасов вирішив подумати про те, чому ж необанк пускає в землю коріння і обростає бородою.
💁♀️Українка запатентувала розумні ваги для схуднення
Харків’янка Ірина Сорокіна запатентувала інтелектуальний пристрій для зважування та контролю раціону харчування. Корисна модель належить до вимірювальної техніки і може бути використана як інтерактивна система для контролю і коригування харчування людини. Пристрій зручний в експлуатації, є компактним, всі блоки і модулі знаходяться в єдиному корпусі з сенсорною панеллю керування.
Харків’янка Ірина Сорокіна запатентувала інтелектуальний пристрій для зважування та контролю раціону харчування. Корисна модель належить до вимірювальної техніки і може бути використана як інтерактивна система для контролю і коригування харчування людини. Пристрій зручний в експлуатації, є компактним, всі блоки і модулі знаходяться в єдиному корпусі з сенсорною панеллю керування.